動態顆粒影像分析儀
量測原理:
Winner99E配備了先進的高速攝像系統,動態進樣且動態採集,通過自主開發的軟體系統,既能統計包括“長徑比”“真圓度”內部的形貌參數,又可獲得了具代表性的粒徑分佈數據。是一種定義未來趨勢的產品,也是粒徑分析儀的新世代產品。
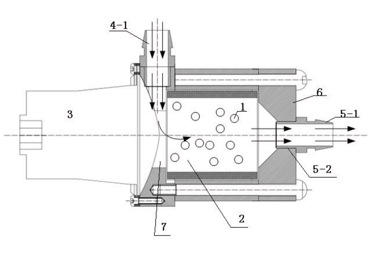
儀器配置圖:
高景深技術:
未使用新技術與使用新技術的測試前後圖
|
規格型號 |
Winner100D |
|
執行標準 |
ISO-13322-1:2004;GB/T21649.1-2008 |
|
測試範圍 |
2-6000μm(根據不同類型鏡頭,測試範圍有所不同) |
|
分散方式 |
超音波分散,機械攪拌,內置循環 |
|
成像元件 |
高速高分辨率CCD攝像機 |
|
最大分辨率 |
1392*1040 |
|
快門速度 |
10-6 S |
|
整體分佈特徵參數 |
D10、D50(中位徑)、D90等顆粒分佈特徵參數 |
|
統計方式 |
按數量,體積,面積等方式分析顆粒的頻率,累積分佈 |
|
統計平均徑 |
Xnl、Xns、Xnv、Xls、Xlv、Xsv等常用統計平均徑 |
|
顆粒數據 |
面積等效直徑、周長等效直徑、馬丁徑、周長、投影面積等 |
|
形狀參數 |
長徑比,龐大率,球形度,表面率等 |
|
體積 |
760mm×440mm×460 mm |
|
重量 |
25Kg |
形貌分析 :
圖像法是顆粒分析方法中唯一具有形貌分析能力的方法,可進行球形度,長徑比等參數的分析統計,對研發連結工藝參數相當重要。
取樣數量強化:
解決了傳統圖像儀取樣問題,引入了濕法雷射粒徑分析儀的循環系統,擴大取樣量,強化了結果的參考性與代表性。
超高解析度:
大景深遠心光路搭配平槽樣品視窗,有效提高樣品照片之解析度。
軟硬體:
硬體使用了德國高速影像擷取系統,保證了採樣速度避免拖尾現象,軟體採用了離焦補償等全新的算法,確保數據的準確性。
測試報告:
動態圖像圓度測試報告
動態圖像顆粒測試報告


